當紙和紙板受到外力拉伸時,會產生與之大小相等、方向相反的內力以抵消外力對它的作用,這種抵抗外力拉伸的能力就是抗張強度;同時紙內纖維之間的結合受到破壞,纖維之間的距離發生變化,紙和紙板的尺寸也發生相應變化,這種形變的大小用伸長率來衡量。
抗張強度是衡量紙和紙板抵抗外力拉伸的能力。拉伸過程分兩個階段如圖1所示:在OA階段,抗張力與伸長量基本呈正比關系;AB階段,在載荷作用下產生塑性形變,抗張力與伸長量的比率減小,其中A點對應屈服強度,B點則為抗張強度。

衡量紙和紙板抗張性能的幾個重要參數
(1)抗張強度
在標準試驗方法規定的條件下,單位寬度的試樣斷裂前所能承受的最大張力。
(2)抗張指數
抗張強度除以定量。抗張指數消除了定量的影響。
(3)裂斷長
假設將一定寬度的紙和紙板的一端懸掛起來,計算由其因自重而斷裂的最大長度。裂斷長抗張強度和定量有關,是一項綜合指標。
(4)裂斷時伸長率
在規定的試驗條件下,試樣斷裂瞬間的伸長量與初始試驗長度的比值。
(5)抗張能量吸收
單位面積的試樣被拉伸至最大抗張力時所吸收的能量。抗張強度較大、伸長率較小的紙在包裝時的破損程度反而比抗張強度小,伸長率較大的紙張要嚴重。要使包裝時破損小,紙和紙板的抗張能量吸收,即強韌性是一個非常重要的指標。
(6)抗張能量吸收指數
抗張能量吸收除以定量。抗張能量吸收指數消除了定量的影響,也是一項非常重要的綜合指標。
(7)彈性模量
抗張力-伸長量曲線的最大斜率乘以初始長度再除以試樣的寬度和厚度的乘積。彈性模量的值越大,則紙和紙板的剛度越大,在一定張力作用下產生的彈性形變小。紙和紙板的彈性模量越大越有利于印刷。彈性模量大,相同的印刷張力下紙張的形變量小,可減少印刷質量問題,提高印刷速度。
紙和紙板的抗張強度按GB/T 12914-2018《紙和紙板 抗張強度的測定(恒速拉伸法)》進行測定。
1、測試儀器及方法標準
GB/T 12914、ISO 1924-2、GB/T 2792、TAPPI T494
2、測試目的
紙在上機運行時要保證一定的抗張強度和伸長率才能保證正常走紙,否則會出現斷紙的現象。通過檢測,預測整卷紙的抗張強度如圖2所示,合理控制抗張強度,為生產設備和印刷設備的牽引力設置提供參考數據。

圖2預測整卷紙的抗張強度
3、測試原理和設備結構
本儀器測試原理可簡述為:紙和紙板的抗張強度是指在規定的試驗條件下,單位寬度的紙和紙板被拉斷時所受的最大張力,以kN/m表示。
本儀器由機械傳動、硬件電路、傳感器、顯示屏及測量控制等部件組成。本儀器(以PN-TT300F智能機型為例)外形結構如圖3所示。

1-急停 2-顯示屏 3-下夾頭 4-上夾頭 5-傳感器 6-電源開關 7-電源插座 8-天線 9-串口
圖3 紙和紙板抗張強度測定儀結構示意圖
4、試樣的采取、溫濕處理及試樣的準備
按 GB/T450 規定采取試樣。按 GB/T 10739 規定對試樣進行溫濕處理并在此大氣條件下制備試樣并進行試驗。
從無損傷的紙和紙板試樣上,切取寬度為(15±0.1)mm,長度足夠夾持在兩夾頭之間的試樣條避免用裸手接觸位于兩夾頭之間的試樣部分,試驗區域不得有水印、折痕和皺裙。如果必須包含水印。應在試驗報告中注明。試樣的兩長邊應平直,在整個夾持長度內其平行度誤差應不超過±0.1 mm。試樣切口應整齊、無損傷。一次切取足夠數量的試樣條,以保證在每個方向(縱向或橫向)各有 10 個有效的測定結果。注:注:某些紙張難以切齊,可將兩層或三層紙夾在較硬的紙(如證券紙)中形成一疊,然后再切取試樣。
如需測定抗張指數或抗張能量吸收指數,則應按 GB/T 451.2 規定測定試樣定量。如需測定彈性模量,則應按 GB/T 451.3 規定測定試樣厚度。
5、試驗步驟及方法
測試前,儀器力值清零。設置夾頭間距180mm,測試速度20mm/min。
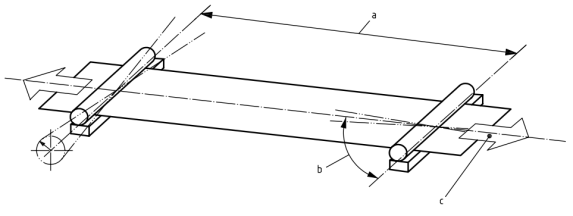
將試樣夾在夾頭上,注意不應用手接觸試樣兩夾持線之間的試驗區域。建議處理試樣時,佩戴一次性手套或輕質的棉手套。擺正并夾緊試樣,不留任何可覺察的松弛,并且不產生明顯的應變。保證試樣平行于所施加的張力方向(見圖4)。

a——兩夾持線之間的夾角,a=0°±1°。
b——試樣中心線與夾持線的夾角,a=90°±1°。
c——張力方向,與試樣中心線平行,夾角不大于1°。
圖4 夾持線與試樣的關系
開始試驗直至試樣斷裂。記錄所施加的最大抗張力,從儀器上如圖5所示直接讀出斷裂時伸長率(%)。
在要求的每個方向(縱向或橫向)各測試至少10個試樣舍去所有在距夾持線 10 mm 范圍內斷的試樣的試驗數據。每個方向上得到10個有效結果。如果 20%以上的試樣在夾持線10mm范圍內斷裂,則應檢查試驗儀,如儀器有故障,則舍棄全部試驗結果并采取補救措施。在試驗報告中注明在距夾持線10mm范圍內斷裂的試樣數量。

圖5紙和紙板抗張強度測試設備
6、結果計算分析
(1)抗張強度
按下式計算抗張強度S,單位為千牛每米(kN/m)。

式中:F— 最大抗張力的平均值,N;b — 試樣的寬度,mm。
(2)抗張指數
按下式計算抗張指數I,單位為牛頓每克(N·m/g)。

式中:w — 定量的定量,g/m2。
(3)斷裂時伸長率
按下式計算每次試驗的斷裂時伸長率,以斷裂時伸長量與初始試驗長度的比值(%)表示。

式中: — 斷裂時伸長量,mm; — 試樣的初始試驗長度,mm。
(4)裂斷長
按下式計算裂斷長
,單位為千米(km)。

(5)抗張能量吸收
按下式計算抗張能量吸收Z,單位為焦耳每平方米(J/m2)。

(6)抗張能量吸收指數

(7)彈性模量
按下式計算每個試樣抗張力-伸長量曲線的最大斜率Smax(見圖6),單位為N/mm。

式中:l——試樣的初始長度,mm。t——試樣厚度,mm。

7、可能的錯誤操作及誤差來源
7.1 可能的錯誤操作
7.1.1 開機直接測。
本儀器屬于電子儀器,測量前要預熱30min以上,使內部電子器件達到熱穩定平衡。
7.1.2 參數設置不正確。試樣寬度、定量和測試速度均影響測試結果。試樣寬度用于抗張強度的計算,定量用于抗張指數的計算,如果輸入錯誤造成測試結果出錯。
7.1.3 試樣夾持是傾斜
試樣夾持時傾斜,軸線不與夾持具軸線平行,容易造成向上的分解力,影響測試結果準確性。試樣被夾持后,兩條夾,線應互相平行,其夾角,超過1°。
7.2 主要誤差來源
7.2.1 壓力測量系統校準不準確。本儀器為高精密電子產品,使用一段時間后,因為電子元器件及傳感器具的性能變化,測試準確測量準確度漂移,從而會影響測試結果,要定期對儀器進行校準。
7.2.2 測試速度
抗張強度測試一般使用20mm/min,偏差為±5mm/min。
7.2.3 取樣的影響
取樣的質量直接影響測試結果,取樣精度越高,測試數據更準確。所以,抗張強度一般采用專用切紙刀進行取樣。
本文2023年10月,發表于《紙箱世界》雜志
